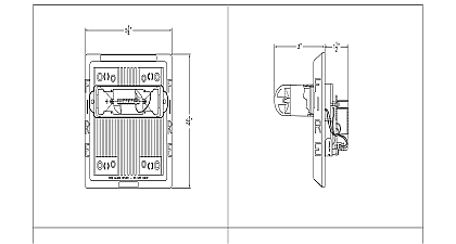
Wheelock ASWP horn strobe drawing
File Preview
Click below to download for free
Click below to download for free
File Data
| Name | wheelock-aswp-horn-strobe-drawing-7650219834.pdf |
|---|---|
| Type | |
| Size | 621.50 KB |
| Downloads |


