Mircom (440 Files)
FA-1000 Installation Manual 9920 2014-03-17 0 downloads PDF
Mircom 150042 QX-MINI Sell Sheet (English) 0 downloads PDF
Mircom 150050 Mircom FleX-Net Sell Sheet (English) 0 downloads PDF
Mircom 150050 Mircom FleX-Net Sell Sheet (Spanish) 0 downloads PDF
Mircom 160010 OpenGN Brochure (English) 0 downloads PDF
Mircom 160010 OpenGN Brochure (French) 0 downloads PDF
Mircom 160060 400-Series LED NAC Sell Sheet (English) 0 downloads PDF
Mircom 170052 FleX-Net Brochure (English) 0 downloads PDF
Mircom 180049 FX-3318 Sell Sheet (English) 0 downloads PDF
Mircom AGD-048 0 downloads DWG
Mircom ANC-5000 0 downloads DWG
Mircom B300-6 and B300-6-IV Installation Manual 0 downloads PDF
Mircom B300A-6 and B300A-6-IV Installation Manual 0 downloads PDF
Mircom B501-WHITE and B501-IV Installation Manual 0 downloads PDF
Mircom BB-5008 0 downloads DWG
Mircom BB-5014 0 downloads DWG
Mircom BBX-1024XT 0 downloads DWG
Mircom BBX-1072 0 downloads DWG
Mircom BBX-FXMNS 0 downloads DWG
Mircom BC-160 0 downloads DWG
Mircom BR 220010 FleXNet FX-4000N Series (English) 0 downloads PDF
Mircom CAT-3025 BL-6B BL-10B Motorized Steel Bells (English) 0 downloads PDF
Mircom CAT-5005 FA-106 Six Zone Fire Alarm Unit (English) 0 downloads PDF
Mircom CAT-5101 MS-400 Series Manual Stations (English) 0 downloads PDF
Mircom CAT-5102 MS-400U Series Manual Stations (English) 0 downloads PDF
Mircom CAT-5103 MS-403^404 Emergency Manual Stations (English) 0 downloads PDF
Mircom CAT-5108 CR^CF-MP Series Moisture Proof Heat Detectors (English) 0 downloads PDF
Mircom CAT-5111 MS-403U^404U Emergency Manual Stations (English) 0 downloads PDF
Mircom CAT-5112 TD Series Fixed Temperature Heat Detector (English) 0 downloads PDF
Mircom CAT-5124 XAL-53 Explosion Proof Fire Alarm Station (English) 0 downloads PDF
Mircom CAT-5128 i3 Series Photoelectric Smoke Detectors (English) 0 downloads PDF
Mircom CAT-5129 i3 Series 2-wire Loop Test Maintenance Module (English) 0 downloads PDF
Mircom CAT-5130 i3 Series Sensitivity Reader (English) 0 downloads PDF
Mircom CAT-5131 i3 Series Photoelectric Smoke Detector (Canada) (English) 0 downloads PDF
Mircom CAT-5132 i3 Series 2-wire Loop Test and Maintenance Module (Canada) (English) 0 downloads PDF
Mircom CAT-5133 i3 Series Sensitivity Readers (Canada) (English) 0 downloads PDF
Mircom CAT-5136 MIR-65 Series Conventional Smoke and Heat Detectors (English) 0 downloads PDF
Mircom CAT-5148 i3 Series Sounder and Relay Smoke Detectors (English) 0 downloads PDF
Mircom CAT-5149 i3 Series Reversing Relay Synchronization Module (English) 0 downloads PDF
Mircom CAT-5150 i3 Series Sounder and Relay Smoke Detectors (Canada) (English) 0 downloads PDF
Mircom CAT-5151 i3 Series Reversing Relay Synchronization Module (Canada) (English) 0 downloads PDF
Mircom CAT-5154 BEAM1224 Series Conventional Beam Smoke Detectors (English) 0 downloads PDF
Mircom CAT-5156 MS-700 Series Manual Stations (English) 0 downloads PDF
Mircom CAT-5157 MS-700U Series Manual Stations (English) 0 downloads PDF
Mircom CAT-5165 MS-700U Series Emergency Manual Stations (English) 0 downloads PDF
Mircom CAT-5176 D2 Innovairflex 2-Wire Photoelectric Duct Detector (English) 0 downloads PDF
Mircom CAT-5177 SD Series Photoelectric Smoke Detectors (English) 0 downloads PDF
Mircom CAT-5178 D4120 Innovairflex 4-Wire Photoelectric Duct Detector (English) 0 downloads PDF
Mircom CAT-5181 SD-100 Series 0 downloads PDF
Mircom CAT-5208 MH-25 Series Piezoelectric Mini Horns (English) 0 downloads PDF
Mircom CAT-5222 SIS-204 Speaker Isolator Module (English) 0 downloads PDF
Mircom CAT-5224 CNSIS-204 Non Supervised Signal Isolator Module (English) 0 downloads PDF
Mircom CAT-5261 BL-6B BL-10B Motorized Steel Bells (English) 0 downloads PDF
Mircom CAT-5265 CSIS-202A1 Supervised Signal Isolator Module (English) 0 downloads PDF
Mircom CAT-5273 FH-400 Wall-Ceiling Mount Horns (English) 0 downloads PDF
Mircom CAT-5274 FS-400 Wall Mount LED Strobes (English) 0 downloads PDF
Mircom CAT-5275 FHS-400 Wall Mount LED Horn-Strobes (English) 0 downloads PDF
Mircom CAT-5276 FS-400C Ceiling Mount LED Strobes (English) 0 downloads PDF
Mircom CAT-5277 FHS-400C Ceiling Mount LED Horn-Strobes (English) 0 downloads PDF
Mircom CAT-5278 BB-400 Plastic Surface Mount Back Boxes (English) 0 downloads PDF
Mircom CAT-5301 - Fire Alarm Accessories 0 downloads PDF
Mircom CAT-5307 BC 160 Battery Cabinet (English) 0 downloads PDF
Mircom CAT-5308 MR-100 MR-200 Series Multi-Voltage Control Relays (English) 0 downloads PDF
Mircom CAT-5316 DTC-300A Stand-Alone Digital Alarm Communicator (English) 0 downloads PDF
Mircom CAT-5317 PAM Series Multi-Voltage Control Relays (English) 0 downloads PDF
Mircom CAT-5321 - INX-10A - Intelligent NAC Expander Power Supply 0 downloads PDF
Mircom CAT-5321 INX-10A Intelligent NAC Expander Power Supply (English) 0 downloads PDF
Mircom CAT-5323 OpenGN Graphic Software (English) 0 downloads PDF
Mircom CAT-5330 - FOM-2000-UM FOM-CONN-SM MM FNC-2000 - Fiber Module 0 downloads PDF
Mircom CAT-5331 - DSPL-420-16TZDS - Main Display Module 0 downloads PDF
Mircom CAT-5332 - DSPL-420DS - Main Display Module 0 downloads PDF
Mircom CAT-5332 DSPL-420DS Main Display Module 0 downloads PDF
Mircom CAT-5334 - IPS-2424DS - Programmable Input Switches Module 0 downloads PDF
Mircom CAT-5334 - IPS-2424DS Programmable Input Switches Module 0 downloads PDF
Mircom CAT-5335 - IPS-4848DS - Programmable Input Switches Module 0 downloads PDF
Mircom CAT-5335 - IPS-4848DS Programmable Input Switches Module 0 downloads PDF
Mircom CAT-5336 - RM-1008A - Eight Relay Circuit Module 0 downloads PDF
Mircom CAT-5337 - FNC-2000 - Fire Network Controller Module 0 downloads PDF
Mircom CAT-5341 - PR-300 Polarity Reversal City Tie Module 0 downloads PDF
Mircom CAT-5342 - ANC-4000 - Audio Network Controller 0 downloads PDF
Mircom CAT-5343 - DSPL-2440DS - Main Graphic Display 0 downloads PDF
Mircom CAT-5345 - UDACT-300A - Digital Alarm Communicator Dialer 0 downloads PDF
Mircom CAT-5345 - UDACT-300A - Digital Alarm Communicator Dialer Module 0 downloads PDF
Mircom CAT-5346 - RAM-1032TZDS-CC - 32-Zone Conformal Coated Remote Annunciator 0 downloads PDF
Mircom CAT-5346 RAM-1032TZDS-CC 32-Zone Conformal Coated Remote LED Annunciator 0 downloads PDF
Mircom CAT-5347 - RAM-1032TZDS - 32-Zone Remote LED Annunciator 0 downloads PDF
Mircom CAT-5347 - RAM-1032TZDS 32-Zone Remote LED Annunciator 0 downloads PDF
Mircom CAT-5348 - RAX-1048TZDS-CC - 48-Zone Conformal Coated Remote LED Annunciator 0 downloads PDF
Mircom CAT-5348 RAX-1048TZDS-CC 48-Zone Conformal Coated Remote LED Annunciator 0 downloads PDF
Mircom CAT-5349 - RAX-1048TZDS - 48 Zone Remote LED Adder Annunciator 0 downloads PDF
Mircom CAT-5349 - RAX-1048TZDS 48 Zone Remote LED Adder Annunciator 0 downloads PDF
Mircom CAT-5350 - RAX-LCD-LITE Datasheet 0 downloads PDF
Mircom CAT-5351 RAX-LCD Remote Shared Display 0 downloads PDF
Mircom CAT-5352 - RAX-4000LCDG - Network Remote Graphic Annunciator 0 downloads PDF
Mircom CAT-5505 - RA-1000 Series Datasheet English 0 downloads PDF
Mircom CAT-5505 - RA-1000 Series Remote Multiplex Annunciators Enclosures 0 downloads PDF
Mircom CAT-5505 RA-1000 Series Remote Multiplex Annunciators (English) 0 downloads PDF
Mircom CAT-5511 - BB-1001WP(R)A 0 downloads PDF
Mircom CAT-5511 - BB-1001WPA WPRA - Weather Protected Enclosure 0 downloads PDF
Mircom CAT-5512 - BB-1002WPA WPRA - Weather Protected Enclosure 0 downloads PDF
Mircom CAT-5512 BB-1002WPA-BB-1002WPRA Weather Protected Enclosure 0 downloads PDF
Mircom CAT-5620 FA-1000 Series Fire Alarm Control Panels (English) 0 downloads PDF
Mircom CAT-5622 -DM-1008A - Eight Initiating Circuit Module 0 downloads PDF
Mircom CAT-5623 - SGM-1004A - Four Indicating Circuit Module 0 downloads PDF
Mircom CAT-5624 FA-1000 Series Auxiliary Modules (English) 0 downloads PDF
Mircom CAT-5627 FA-1008KADS Fire Alarm Control Unit (English) 0 downloads PDF
Mircom CAT-5635 BPS-1100 Signal Booster Power Supply (English) 0 downloads PDF
Mircom CAT-5660 FA-300 Series Canadian Fire Alarm Control Panels (English) 0 downloads PDF
Mircom CAT-5661 FA-300 Series LED Display Fire Alarm Control Panels (English) 0 downloads PDF
Mircom CAT-5662 - FA-300 Series LCD - Datasheet 0 downloads PDF
Mircom CAT-5662 FA-300 Series LCD Display Fire Alarm Control Panels (English) 0 downloads PDF
Mircom CAT-5664 FR-320 Series Pre-Action Deluge Agent Releasing Panel (English) 0 downloads PDF
Mircom CAT-5665 BPS-602 Remote Power Supply (English) 0 downloads PDF
Mircom CAT-5666 BPS-802 Remote Power Supply (English) 0 downloads PDF
Mircom CAT-5667 BPS-1002 Remote Power Supply (English) 0 downloads PDF
Mircom CAT-5668 FA-300-6DDR-CG Datasheet 0 downloads PDF
Mircom CAT-5668 FA-300-6DDR-CG Marine Fire Alarm Control Unit (English) 0 downloads PDF
Mircom CAT-5669 FleX-Net Local Operating Console 0 downloads PDF
Mircom CAT-5671 FX-351 LDW Intelligent Fire Alarm Control Panels (English) 0 downloads PDF
Mircom CAT-5674 MIX-2000 Series Alpha Intelligent Mounting Bases (English) 0 downloads PDF
Mircom CAT-5675 MIX-100 Series Alpha Intelligent Addressable Modules (English) 0 downloads PDF
Mircom CAT-5676 MIX-3000 Series Alpha Intelligent Addressable Detectors (English) 0 downloads PDF
Mircom CAT-5678 MS-700ID Series Alpha Intelligent Addressable Manual Stations (English) 0 downloads PDF
Mircom CAT-5679 MS-700IDU Series Alpha Intelligent Addressable Manual Stations (English) 0 downloads PDF
Mircom CAT-5683 RTI-265 RAM-265 FA-260 Series Remote Annunciators (English) 0 downloads PDF
Mircom CAT-5685 MIX-DH3000 Series Alpha Intelligent Duct Detectors (English) 0 downloads PDF
Mircom CAT-5690 FX-3500 (English) 0 downloads PDF
Mircom CAT-5691 - RAM-3318-LCD REMOTE-LCD-ANNUNCIATOR 0 downloads PDF
Mircom CAT-5691 Ram 3318 LCD REMOTE ANNUNCIATOR (English) 0 downloads PDF
Mircom CAT-5692 - RAM-216R Remote Multiplex Annunciator 0 downloads PDF
Mircom CAT-5692F - RAM-216R Annonciateurs Multiplexes a Distance 0 downloads PDF
Mircom CAT-5700 SP Series 4 Inch Speakers (English) 0 downloads PDF
Mircom CAT-5701 SP Series 8 Inch Speakers (English) 0 downloads PDF
Mircom CAT-5702 SP Series 4 Inch Bright White Speakers (English) 0 downloads PDF
Mircom CAT-5703 SP Series 8 Inch Bright White Speakers (English) 0 downloads PDF
Mircom CAT-5705 SP Series 4 Inch Retrofit Speakers (English) 0 downloads PDF
Mircom CAT-5706 SPS Series 4 Inch Speaker Strobes (English) 0 downloads PDF
Mircom CAT-5710 SP Series 4 Inch Smart Silenceable Speakers (English) 0 downloads PDF
Mircom CAT-5719 SPS Series 8 Inch Speaker Strobes (English) 0 downloads PDF
Mircom CAT-5725 SP Series 4 Inch Bright White Speakers (English) 0 downloads PDF
Mircom CAT-5800 QX-5000 Series Voice Evacuation System (English) 0 downloads PDF
Mircom CAT-5801 Fire Fighter Telephones (English) 0 downloads PDF
Mircom CAT-5810 QX-MINI (English) 0 downloads PDF
Mircom CAT-5904 MIX-200 Series Intelligent Low Profile Sensors (English) 0 downloads PDF
Mircom CAT-5906 200 Series Mounting Bases (English) 0 downloads PDF
Mircom CAT-5910 FX-2000 Series Intelligent Fire Alarm Control Panel (English) 0 downloads PDF
Mircom CAT-5912 FX-2000 Series Programmable Modules (English) 0 downloads PDF
Mircom CAT-5922 PTR-2000 1 Remote Line Printer (English) 0 downloads PDF
Mircom CAT-5926 BEAM200 Series Intelligent Beam Smoke Detectors (English) 0 downloads PDF
Mircom CAT-5934 FX-2003-12XTDS Intelligent Fire Alarm Control Panel (English) 0 downloads PDF
Mircom CAT-5938 FX-2003-6DS-16LED (English) 0 downloads PDF
Mircom CAT-5940 FleX-Net Intelligent Fire Alarm And Audio Network System (English) 0 downloads PDF
Mircom CAT-5941 FleX-Net FX-2003 12N Network Fire Alarm Control Panel (English) 0 downloads PDF
Mircom CAT-5941 FleX-Netâ„¢ FX-2003-12NDS - English 0 downloads PDF
Mircom CAT-5942 FX-2017 12N Network Fire Alarm Control Panel (English) 0 downloads PDF
Mircom CAT-5942 FleX-Netâ„¢ FX-2017-12NDS - English 0 downloads PDF
Mircom CAT-5943 FleX-Net FX-2009 12N Network Fire Alarm Control Panel (English) 0 downloads PDF
Mircom CAT-5943 FleX-Netâ„¢ FX-2009-12NDS - English 0 downloads PDF
Mircom CAT-5944 FleX-Net Network Annunciators (English) 0 downloads PDF
Mircom CAT-5945 FX-MNS Mass Notification System (English) 0 downloads PDF
Mircom CAT-5946 FleX-Net FX-2003 12NXTDS Network Fire Alarm Control Unit (English) 0 downloads PDF
Mircom CAT-5946 FleX-Netâ„¢ FX-2003-12NXTDS - English 0 downloads PDF
Mircom CAT-5946F FleX-Netâ„¢ FX-2003-12NXTDS - French 0 downloads PDF
Mircom CAT-5947 FleX-Net Mass Notification Enclosure (English) 0 downloads PDF
Mircom CAT-5948 FleX-Net Isolated Quad Loop Adder Module (English) 0 downloads PDF
Mircom CAT-5948 MIX-2251RAP Intelligent Photoelectric Smoke Sensors for Duct Applications (English) 0 downloads PDF
Mircom CAT-5949 - MGD-32 - Master Graphic Driver Module 0 downloads PDF
Mircom CAT-5949 Master Graphic Driver Module (English) 0 downloads PDF
Mircom CAT-5950 MIX-M500AP (English) 0 downloads PDF
Mircom CAT-5952 MIX 2251TMAP ACCLIMATE Intelligent Multi-Criteria Sensor (English) 0 downloads PDF
Mircom CAT-5952 MIX-1251AP MIX-2251AP (English) 0 downloads PDF
Mircom CAT-5953 MIX-5251AP-RAP-HAP (English) 0 downloads PDF
Mircom CAT-5954 MS-710APU (English) 0 downloads PDF
Mircom CAT-5955 MS-400AP Series (English) 0 downloads PDF
Mircom CAT-5956 MS-700AP Series (English) 0 downloads PDF
Mircom CAT-5959 Adder Graphic Driver Module (English) 0 downloads PDF
Mircom CAT-5960 MS-700MP(U) Series Data Sheet (English) 0 downloads PDF
Mircom CAT-5961 MS-400MP Series Data Sheet 0 downloads PDF
Mircom CAT-5971 - FDX-008W KI - FDG-008 -Fan Damper Control Modules 0 downloads PDF
Mircom CAT-5980 FR-320NETK Releasing Panel (English) 0 downloads PDF
Mircom CAT-5981 - FX-400 Addressable Fire Alarm Control Panel (English Version) 0 downloads PDF
Mircom CAT-5982 - FX-401 Addressable Fire Alarm Control Panel (English Version) 0 downloads PDF
Mircom CAT-5985 FLEXNET-MNS Mass Notification System (English) 0 downloads PDF
Mircom CAT-7905 MIR Series Electromagnetic Fire Door Holders (English) 0 downloads PDF
Mircom CAT-9209 - FX-4003-12N - FleX-Net Fire Alarm Control Panel Datasheet (English Version) 0 downloads PDF
Mircom CAT-9210 - FX-4003-12NXT - FleX-Net Fire Alarm Control Panel (English Version) 0 downloads PDF
Mircom CAT-9211 - FX-4017-12N - FleX-Net Fire Alarm Control Panel Datasheet (English Version) 0 downloads PDF
Mircom CAT-9212 - FX-4009-12N - FleX-Net Fire Alarm Control Panel Datasheet (English Version) 0 downloads PDF
Mircom CAT-9301X - RA-1000 Stainless Steel Datasheet English 0 downloads PDF
Mircom CAT-9301X - Stainless Steel Series English 0 downloads PDF
Mircom CAT-9514 QAZT Data Sheet (English) 0 downloads PDF
Mircom CAT-9514 QAZT-5348DS and QAZT-5302DS Datasheet 0 downloads PDF
Mircom CAT-9515 Amplifier QAD-30 0 downloads PDF
Mircom CAT-9516 QX-mini Splitter QAS-2X8 0 downloads PDF
Mircom CAT-9517 - UIMA4 - Interface for Configurating MGC Fire Panels 0 downloads PDF
Mircom CAT-9517 UIMA4 Interface for Configurating MGC Fire Panels 0 downloads PDF
Mircom CAT-9519 MGC-CONFIG-KIT4 Fire Panel Configuration Kit 0 downloads PDF
Mircom CAT-9522 QMB-5000N QMB-5000B 0 downloads PDF
Mircom CAT-9524 - ALCN-960MISO D - Quad Loop Adder for MGC Devices 0 downloads PDF
Mircom CAT-9526 - ALCN-4792MISO Quad Loop Adder for AP Devices 0 downloads PDF
Mircom CAT-9626X QAA AUDIO AMPLIFIERS 0 downloads PDF
Mircom CCH-5008 0 downloads DWG
Mircom CCH-5014 0 downloads DWG
Mircom DM-1008A 0 downloads DWG
Mircom DOX-1024BP 0 downloads DWG
Mircom DOX-1024DS 0 downloads DWG
Mircom DOX-QX-mini-LOC 0 downloads DWG
Mircom DSPL-2440DS 0 downloads DWG
Mircom DSPL-420DS 0 downloads DWG
Mircom FA-1008KADS-BASE-PANEL-KIT-rev-01 0 downloads DWG
Mircom FA-103 106 Frequently Asked Questions (English) 0 downloads PDF
Mircom FDS-008 0 downloads DWG
Mircom FDX-008 0 downloads DWG
Mircom FH-400 Horn 0 downloads DOCX
Mircom FHS-400 Horn Strobe 0 downloads DOCX
Mircom FHS-400C Horn Strobe 0 downloads DOCX
Mircom FNC-2000 0 downloads DWG
Mircom FOM-2000-SP 0 downloads DWG
Mircom FS-400 Strobe 0 downloads DOCX
Mircom FS-400C Strobe 0 downloads DOCX
Mircom FX-2003-12NDS 0 downloads DWG
Mircom FX-2003-12NXTDS 0 downloads DWG
Mircom FX-2009-12NDS 0 downloads DWG
Mircom FX-2017-12NDS 0 downloads DWG
Mircom FX-LOC 0 downloads DWG
Mircom FX-MNS 0 downloads DWG
Mircom Fire-Link3 Datasheet 0 downloads PDF
Mircom Fire-Link3 Sell sheet 0 downloads PDF
Mircom I56-3311 MIX 2251TMAP Installation Manual 0 downloads PDF
Mircom I56-3311 MIX-2251AP TAP-TMAP (English) 0 downloads PDF
Mircom I56-3312 MIX-1251AP (English) 0 downloads PDF
Mircom I56-3313 MIX-5251AP RAP-HAP (English) 0 downloads PDF
Mircom I56-3314 MIX-M500MAP (English) 0 downloads PDF
Mircom I56-3315 MIX-M500SAP (English) 0 downloads PDF
Mircom I56-3316 MIX-M501MAP (English) 0 downloads PDF
Mircom I56-3317 MIX-M500RAP (English) 0 downloads PDF
Mircom I56-3318 MIX-M502MAP (English) 0 downloads PDF
Mircom I56-3319 MIX-2251APA TAPA-TMAPA (English) 0 downloads PDF
Mircom I56-3321 MIX-5251APA RAPA-HAPA (English) 0 downloads PDF
Mircom I56-3322 MIX-M500MAPA (English) 0 downloads PDF
Mircom I56-3323 MIX-M500SAPA (English) 0 downloads PDF
Mircom I56-3324 MIX-M501MAPA (English) 0 downloads PDF
Mircom I56-3325 MIX-M500RAPA (English) 0 downloads PDF
Mircom I56-3326 MIX-M502MAPA (English) 0 downloads PDF
Mircom IIBPS1002 BPS-1002 NAC Power Extender Installation Guide (English) 0 downloads PDF
Mircom IIBPS602 BPS-602 NAC Power Extender Installation Guide (English) 0 downloads PDF
Mircom IIBPS802 BPS-802 NAC Power Extender Installation Guide (English) 0 downloads PDF
Mircom INX-10A 0 downloads DWG
Mircom INX-10AC 0 downloads DWG
Mircom IPS-2424DS 0 downloads DWG
Mircom LT-1001 SRM-312 Installation and Operation Manual (English) 0 downloads PDF
Mircom LT-1002 RAM-300LCD Installation and Operation Manual (English) 0 downloads PDF
Mircom LT-1007 Device Compatibility Guide 0 downloads PDF
Mircom LT-1023 Device Compatibility Guide (English) 0 downloads PDF
Mircom LT-1023 Device Compatibilty Guide (English) 0 downloads PDF
Mircom LT-1027 MIX-3000 Series with MIX-2000^2001 Instructions (English) 0 downloads PDF
Mircom LT-1083 FX-3500 Installation Manual (English) 0 downloads PDF
Mircom LT-1083RCU FX-3500RCU Installation Manual (English) 0 downloads PDF
Mircom LT-1087 Addendum for New Chassis (English) 0 downloads PDF
Mircom LT-1091 FX-3500 Releasing Guide (English) 0 downloads PDF
Mircom LT-1105 OpenGN to FX-2000 Connection Instructions (English) 0 downloads PDF
Mircom LT-1113 OpenGN Administrator Guide (English) 0 downloads PDF
Mircom LT-1148 FX-3500 Configurator Manual (English) 0 downloads PDF
Mircom LT-1148MOD FX-3318 Configurator Manual (English) 0 downloads PDF
Mircom LT-1149 - RAX-LCD-LITE Installation Manual 0 downloads PDF
Mircom LT-1200 FA-103 and FA-106 Installation Manual (English) 0 downloads PDF
Mircom LT-1202 FX-3318 Installation and Operation Manual (English) 0 downloads PDF
Mircom LT-2070 MS-400AP(U) Pull Station Installation Manual 0 downloads PDF
Mircom LT-2071 MS-700AP Series Fire Alarm Manual Station (English) 0 downloads PDF
Mircom LT-2077 QX-MINI Installation and Operation Manual (English) 0 downloads PDF
Mircom LT-2078 Wall and Ceiling Notification Appliances (English) 0 downloads PDF
Mircom LT-2079 QX-MINI Programming Guide 0 downloads PDF
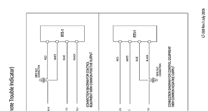
Mircom LT-388 - RTI-1 Wiring Diagram 0 downloads PDF
Mircom LT-600 FA-1000 Installation and Operation Manual (English) 0 downloads PDF
Mircom LT-6022 IPS 4848 Instruction Sheet 0 downloads PDF
Mircom LT-6032 ALCN-792MISO ALCN-792D 0 downloads PDF
Mircom LT-6033 RAXN-LCDG Installation and Wiring Manual 0 downloads PDF
Mircom LT-6045 FleX-Net Application Guide 0 downloads PDF
Mircom LT-6053 FX-2003-12NXTDS CHASSIS (English) 0 downloads PDF
Mircom LT-6055 OpenGN to MR-2200 2900 Connection Instructions (English) 0 downloads PDF
Mircom LT-6057 DSPL-420-16TZDS Installation Instruction (English) 0 downloads PDF
Mircom LT-6062 MP-3500WR Solenoid EOL Module (English) 0 downloads PDF
Mircom LT-6116 MGC Network Service Kit (English) 0 downloads PDF
Mircom LT-6129 Installation of RS-485 and Audio Extension Cables (English) 0 downloads PDF
Mircom LT-6146--MIX-4090 Device Programmer Installation Manual - English 0 downloads PDF
Mircom LT-6150 MGC Network Firmware Update Wizard (English) 0 downloads PDF
Mircom LT-616 QX-5000 Installation and Operation Manual (English) 0 downloads PDF
Mircom LT-6161-BB-1001WPRA-BB-1002WPRA-Installation-Instructions-rev2-2020-02-06-1 0 downloads PDF
Mircom LT-617 RA-1000 Installation and Wiring Manual 0 downloads PDF
Mircom LT-617 RA-1000 Installation and Wiring Manual (English) 0 downloads PDF
Mircom LT-6210 Fire-Link3 Installation Manual 0 downloads PDF
Mircom LT-6212 WR-3001W Installation Manual 0 downloads PDF
Mircom LT-657 FX-2000 Installation and Operation Manual (English) 0 downloads PDF
Mircom LT-658 RAM-216 Wiring and Installation Manual 0 downloads PDF
Mircom LT-6620 OpenGN to PRO-2000 Connection Instructions (English) 0 downloads PDF
Mircom LT-6621 OpenGN to FX-3500 Connection Instructions (English) 0 downloads PDF
Mircom LT-6622 OpenGN to FleXNet Connection Instructions (English) 0 downloads PDF
Mircom LT-6661 MS-700MP(U) Series Installation Manual 0 downloads PDF
Mircom LT-6670 - FX-401 Installation Manual 0 downloads PDF
Mircom LT-6671 - FX-400 Installation Manual 0 downloads PDF
Mircom LT-6674 OpenGN System Requirements (English) 0 downloads PDF
Mircom LT-6701 OpenGN License Requirements (English) 0 downloads PDF
Mircom LT-6703 OpenGN to FleXNet FX-4000 Connection Instructions (English) 0 downloads PDF
Mircom LT-6709MP - FleX-Net FX-4000N Quick Start 0 downloads PDF
Mircom LT-6710 - FX-400 Configuration Guide 0 downloads PDF
Mircom LT-6715 - ALC-480 Installation Manual 0 downloads PDF
Mircom LT-6916 Ceiling Installation & Maintenance Manual (English) 0 downloads PDF
Mircom LT-6917 Wall Installation & Maintenance Manual (English) 0 downloads PDF
Mircom LT-698 QX-5000 Mass Code Upgrade Instructions (English) 0 downloads PDF
Mircom LT-839B MH-25RW Installation Instructions (English) 0 downloads PDF
Mircom LT-847 MGD-32 and AGD-048 Installation and Operation Manual (English) 0 downloads PDF
Mircom LT-856 RAX-LCD Installation and Wiring Manual (English) 0 downloads PDF
Mircom LT-879 CSIS-202A1 Installation Instructions 0 downloads PDF
Mircom LT-882 FX-2000 User Guide (English) 0 downloads PDF
Mircom LT-888 UDACT-300A Installation and Operation Manual (English) 0 downloads PDF
Mircom LT-889 DTC-300A Installlation and Operation Manual (English) 0 downloads PDF
Mircom LT-892 DTC-300A-2 Installation and Operation Manual (English) 0 downloads PDF
Mircom LT-894 FleX-Net Installation and Operation Manual (English) 0 downloads PDF
Mircom LT-894MP - FleX-Net FX-4000N Manual 0 downloads PDF
Mircom LT-894MP FleX-Net Installation and Operation Manual (English) 0 downloads PDF
Mircom LT-894MP-FleX-Net-FX-4000-Manual-1 0 downloads PDF
Mircom LT-899 INX-10A Installation and Operation Manual (English) 0 downloads PDF
Mircom LT-899ADD INX-10AC Installation Instructions (English) 0 downloads PDF
Mircom LT-905 FA-300 LED Installation and Operation Manual (English) 0 downloads PDF
Mircom LT-906 - FA-300 Series LCD Installation Manual 0 downloads PDF
Mircom LT-906 FA-300 LCD Installation and Operation Manual (English) 0 downloads PDF
Mircom LT-913 BPS-1100 Installation and Operation Manual (English) 0 downloads PDF
Mircom LT-915 FX-2001-6K and FX-2001-6KU One Analog Loop Fire Alarm Kit (English) 0 downloads PDF
Mircom LT-917 FX-2000 Programming Security Introduction (English) 0 downloads PDF
Mircom LT-945 QX-5000 Configurator User Guide (English) 0 downloads PDF
Mircom LT-946 RAX-332 Installation Instructions (English) 0 downloads PDF
Mircom LT-950 FA-300 6L Installation and Operation Manual (English) 0 downloads PDF
Mircom LT-951 FR-320 Installation and Operation Manual (English) 0 downloads PDF
Mircom LT-953 FA-300 LED Userguide (English) 0 downloads PDF
Mircom LT-954 FA-300 LCD Userguide (English) 0 downloads PDF
Mircom LT-963 MS-700IDU Installation Sheet (English) 0 downloads PDF
Mircom LT-989 FX-2000 Addendum (English) 0 downloads PDF
Mircom M500-BK-2 0 downloads DWG
Mircom M500-BK-9 0 downloads DWG
Mircom MGD-32 0 downloads DWG
Mircom MIR-ES-0001 QX-MINI Engineering Specification (English) 0 downloads PDF
Mircom MIR-ES-0003 FX-3500 Engineering Specification (English) 0 downloads PDF
Mircom MIR-FX3500-SS 130065 - Sell Sheet (English) 0 downloads PDF
Mircom MIR-M-0007 FleX-Net Series Network Fire Alarm Control Panels Brochure (English) 0 downloads PDF
Mircom MIX-2351AP Installation Manual 0 downloads PDF
Mircom MIX-2351APA Installation Manual - English 0 downloads PDF
Mircom MIX-2351RAP Installation Manual 0 downloads PDF
Mircom MIX-2351RAPA Installation Manual - English 0 downloads PDF
Mircom MIX-2351TAP Installation Manual 0 downloads PDF
Mircom MIX-2351TAPA Installation Manual - English 0 downloads PDF
Mircom MIX-2351TIRAP Installation Manual 0 downloads PDF
Mircom MIX-2351TIRAPA Installation Manual - English 0 downloads PDF
Mircom MIX-4001 4002 Detector Bases Data Sheet - English 0 downloads PDF
Mircom MIX-4001 4002 Detector Bases Installation Manual 0 downloads PDF
Mircom MIX-4003-R Relay Base Data Sheet - English 0 downloads PDF
Mircom MIX-4003-R Relay Base Installation Manual 0 downloads PDF
Mircom MIX-4003-S Sounder Base Data Sheet - English 0 downloads PDF
Mircom MIX-4003-S Sounder Base Installation Manual 0 downloads PDF
Mircom MIX-4010 MIX-4010-ISO Photoelectric Smoke Sensor Data Sheet (English) 0 downloads PDF
Mircom MIX-4010 MIX-4010-ISO Photoelectric Smoke Sensor Installation Manual - English 0 downloads PDF
Mircom MIX-4020 MIX-4020-ISO Multi-Sensor Detector (English) 0 downloads PDF
Mircom MIX-4020 MIX-4020-ISO Multi-Sensor Installation Manual-English 0 downloads PDF
Mircom MIX-4030 MIX-4030-ISO Tri-Mode Heat Detector Data Sheet (English) 0 downloads PDF
Mircom MIX-4030 MIX-4030-ISO Tri-Mode Heat Detector Installation Manual - English 0 downloads PDF
Mircom MIX-4040 Dual Input Module Data Sheet - English 0 downloads PDF
Mircom MIX-4040 Dual Input Module Installation Manual 0 downloads PDF
Mircom MIX-4041 Mini Dual Input Module Data Sheet - English 0 downloads PDF
Mircom MIX-4041 Mini Dual Input Module Installation Manual 0 downloads PDF
Mircom MIX-4042 Conventional Zone Module Data Sheet - English 0 downloads PDF
Mircom MIX-4042 Conventional Zone Module Installation Manual 0 downloads PDF
Mircom MIX-4045 Dual Relay Module Data Sheet - English 0 downloads PDF
Mircom MIX-4045 Dual Relay Module Installation Manual 0 downloads PDF
Mircom MIX-4046 Supervised Output Module Data Sheet - English 0 downloads PDF
Mircom MIX-4046 Supervised Output Module Installation Manual 0 downloads PDF
Mircom MIX-4050 Sync Module Data Sheet (English) 0 downloads PDF
Mircom MIX-4050 Sync Module Installation Manual 0 downloads PDF
Mircom MIX-4070 Short Circuit Isolator Module Data Sheet - English 0 downloads PDF
Mircom MIX-4070 Short Circuit Isolator Module Installation Manual 0 downloads PDF
Mircom MIX-4090 Device Programmer Data Sheet (English) 0 downloads PDF
Mircom MIX-5351AP RAP HAP Installation Manual 0 downloads PDF
Mircom MIX-5351APA RAPA HAPA Installation Manual - English 0 downloads PDF
Mircom MIX-FC351AP Installation Manual 0 downloads PDF
Mircom MIX-FC351AP(A) Advanced Multi-Criteria Fire Co Detector Data Sheet 0 downloads PDF
Mircom MIX-FC351APA Installation Manual - English 0 downloads PDF
Mircom PR-300 0 downloads DWG
Mircom PS-2040 0 downloads DWG
Mircom QAA-4CLA 0 downloads DWG
Mircom QAA-4CLAS 0 downloads DWG
Mircom QAA-5160-7025 0 downloads DWG
Mircom QAA-5230-7025 0 downloads DWG
Mircom QAA-5230S-7025 0 downloads DWG
Mircom QAA-5415-25 0 downloads DWG
Mircom QAA-5415-70 0 downloads DWG
Mircom QAD-30 0 downloads DWG
Mircom QAZT-5302DS 0 downloads DWG
Mircom QBB-LOC 0 downloads DWG
Mircom QBC-5000N 0 downloads DWG
Mircom QMB-5000B 0 downloads DWG
Mircom QMP-5101N 0 downloads DWG
Mircom QMP-5101NV 0 downloads DWG
Mircom QMT-5302N 0 downloads DWG
Mircom QMT-5302NV 0 downloads DWG
Mircom QPS-5000N 0 downloads DWG
Mircom QX-mini 0 downloads DWG
Mircom QX-mini-BP 0 downloads DWG
Mircom QX-mini-BPMAIN 0 downloads DWG
Mircom QX-mini-LOC 0 downloads DWG
Mircom QX-mini-LOCMAIN 0 downloads DWG
Mircom QX-mini-RM 0 downloads DWG
Mircom QX-mini-RMMIC 0 downloads DWG
Mircom RA-1000 Series Datasheet English 0 downloads PDF
Mircom RA-1000 Series Stainless Steel Datasheet English 0 downloads PDF
Mircom RAM-1016TZDS 0 downloads DWG
Mircom RAM-1032TZDS 0 downloads DWG
Mircom RAX-1048TZDS 0 downloads DWG
Mircom RAXN-LCD 0 downloads DWG
Mircom RAXN-LCDG 0 downloads DWG
Mircom RM-1008A 0 downloads DWG
Mircom SGM-1004A 0 downloads DWG
Mircom SPPS Series Ceiling Speaker & Speaker Strobes Data Sheet (English) 0 downloads PDF
Mircom SPPS Series Ceiling Speaker Strobes Data Sheet (English) 0 downloads PDF
Mircom SPPS Series Ceiling Speakers Data Sheet (English) 0 downloads PDF
Mircom SPPS Series Sell Sheet (English) 0 downloads PDF
Mircom SPPS Series Wall Speaker strobes Data Sheet (English) 0 downloads PDF
Mircom SPPS Series Wall Speakers Data Sheet (English) 0 downloads PDF
Mircom SS 220011 - FX-400 Addressable Fire Alarm Control Panel Sell Sheet (English Version) 0 downloads PDF
Mircom SS 220012 - FX-401 Addressable Fire Alarm Control Panel Sell Sheet (English Version) 0 downloads PDF
Mircom Select Series Intelligent Smoke Detectors Data Sheet 0 downloads PDF
Mircom Select Series Intelligent Thermal Sensors Data Sheet 0 downloads PDF
Mircom Select Series Mounting Bases and Accessories 0 downloads PDF
Mircom Select Series PTIR Intelligent Smoke Detector Data Sheet 0 downloads PDF
Mircom TNC-5000 0 downloads DWG
Mircom UB-1024DS 0 downloads DWG
Mircom UDACT-300A 0 downloads DWG
Mircom UL Mircom FleX-Net Non-Audio Engineering-Spec 0 downloads DOC
Mircom UL Mircom FleX-Net Non-Audio Engineering-Spec (1) 0 downloads DOC
Mircom UL Mircom FleX-Net w Audio Engineering-Spec 0 downloads DOC
Mircom ULC Mircom FlexNet Non-Audio Engineering-Spec 0 downloads DOC
Mircom ULC Mircom FlexNet w Audio Engineering-Spec 0 downloads DOC
Mircom lt- 6660 MS-400MP Installation Manual 0 downloads PDF








































































































































































































































































































































































